
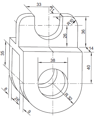
Na realização do desenho em perspectiva, apresentado acima, o desenhista cometeu um erro durante a cotagem. Avaliando as cotas existentes, verifica-se que este ERRO está à cota de valor igual a:

Na realização do desenho em perspectiva, apresentado acima, o desenhista cometeu um erro durante a cotagem. Avaliando as cotas existentes, verifica-se que este ERRO está à cota de valor igual a: