- Instalações ElétricasEquipamentos em Média Tensão
- Sistemas Elétricos de PotênciaDistribuição de Energia Elétrica
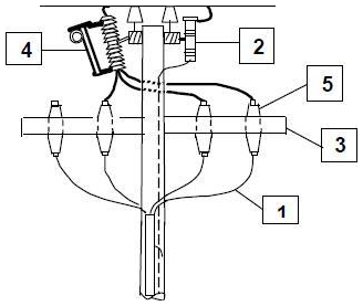
Observe a figura abaixo.

A alternativa que indica corretamente os equipamentos ligados à rede de distribuição, conforme a numeração indicada na figura é:

A alternativa que indica corretamente os equipamentos ligados à rede de distribuição, conforme a numeração indicada na figura é: