
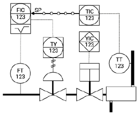
A figura representa um exemplo de diagrama P&ID. Aplicando-se a terminologia da norma ISA 5.1, é CORRETO afirmar que, nessa figura,

A figura representa um exemplo de diagrama P&ID. Aplicando-se a terminologia da norma ISA 5.1, é CORRETO afirmar que, nessa figura,