
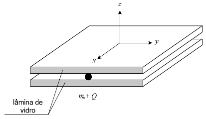
Uma partícula de massa m e carga + Q encontra-se confinada no plano XY entre duas lâminas infinitas de vidro, movimentando-se sem atrito com vetor velocidade (v,0,0) no instante t = 0, quando um dispositivo externo passa a gerar um campo magnético dependente do tempo, cujo vetor é (f(t),f(t),B), onde B é uma constante. Pode-se afirmar que a força normal exercida sobre as lâminas é nula quando t é
Consideração:
• desconsidere o efeito gravitacional.