
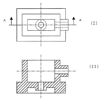
Com relação às figuras acima, é correto afirmar que com relação à figura I, a figura II representa a vista
Provas
Questão presente nas seguintes provas

Com relação às figuras acima, é correto afirmar que com relação à figura I, a figura II representa a vista