Considere os croquis sem escala e os dados a seguir para responder à questão.



Dados:
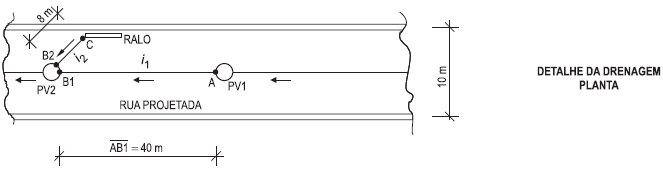
ZA, ZB1, ZB2 e ZC são cotas das geratrizes superiores dos tubos,
nos pontos A, B1, B2 e C
ZA = 1,20 m
ZB1 e ZB2= 1,80 m
L1 e L2 são limites dos serviços
!$ \pi !$ = 3,14
Desconsiderar a espessura do meio-fio (guia) em todos os cálculos
ZA, ZB1, ZB2 e ZC são cotas das geratrizes superiores dos tubos,
nos pontos A, B1, B2 e C
ZA = 1,20 m
ZB1 e ZB2= 1,80 m
L1 e L2 são limites dos serviços
!$ \pi !$ = 3,14
Desconsiderar a espessura do meio-fio (guia) em todos os cálculos
O volume geométrico de material para a execução da base do pavimento no trecho L1L2, em m3, é
Provas
Questão presente nas seguintes provas