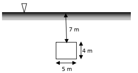
A figura mostra a comporta plana pertencente a um paramento vertical de uma barragem. Essa comporta é retangular de 5 x 4 m e se encontra a uma profundidade de 7 m.

Sabendo que o peso específico da água é de 9,8 x 103 N/m3 , o valor da força exercida pela água sobre a comporta é: