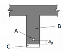
De acordo com a NBR 6.118, a imagem abaixo apresenta o estado-limite de descompressão parcial. A letra C corresponde respectivamente à:

De acordo com a NBR 6.118, a imagem abaixo apresenta o estado-limite de descompressão parcial. A letra C corresponde respectivamente à:
