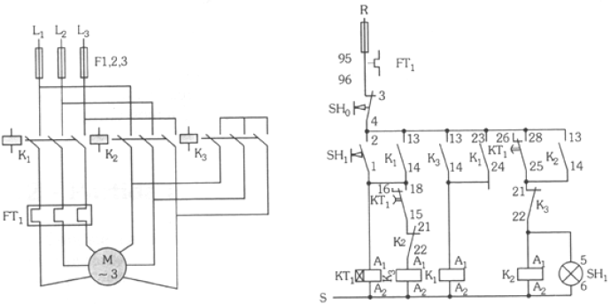
Observe a figura abaixo.

A figura acima mostra o circuito de força e de comando de uma chave de partida estrela-triângulo para um motor de indução trifásico.
Considere as afirmativas abaixo.
I. Quando as contatoras K1 e K3 estão ligadas, as bobinas do motor têm aproximadamente 58% da tensão que deveriam receber.
II. A função dos contatos auxiliares (21-22) de K2 é de evitar o religamento de K3, mesmo que acidental, assegurando, dessa forma, que as bobinas do motor não sejam colocadas em curto-circuito.
III. Este tipo de chave só pode ser usada para motores de no mínimo 9 bornes.
IV. Este tipo de chave é utilizado para partida de motores a plena carga.
Está(ão) correta(s) a(s) afirmativa(s)