Observe a figura a seguir

Figura: Curvas de Nível.
Fonte: IBGE. Noções básicas de cartografia. Rio de Janeiro: IBGE, 1999, p. 78.
Com base na figura acima, é correto afirmar:
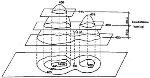
Observe a figura a seguir

Figura: Curvas de Nível.
Fonte: IBGE. Noções básicas de cartografia. Rio de Janeiro: IBGE, 1999, p. 78.
Com base na figura acima, é correto afirmar: