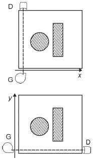
No experimento descrito a seguir, dois corpos, feitos de um mesmo material, de densidade uniforme, um cilíndrico e o outro com forma de paralelepípedo, são colocados dentro de uma caixa, como ilustra a figura ao lado (vista de cima). Um feixe fino de raios X, com intensidade constante, produzido pelo gerador G, atravessa a caixa e atinge o detector D, colocado do outro lado. Gerador e detector estão acoplados e podem mover-se sobre um trilho. O conjunto Gerador-Detector é então lentamente deslocado ao longo da direção x, registrando-se a intensidade da radiação no detector, em função de x. A seguir, o conjunto Gerador-Detector é reposicionado, e as medidas são repetidas ao longo da direção y. As intensidades I detectadas ao longo das direções x e y são mais bem representadas por

Provas
Questão presente nas seguintes provas