Magna Concursos
3148516 Ano: 2024
Disciplina: Engenharia Civil
Banca: FAU-UNICENTRO
Orgão: Pref. Prudentópolis-PR
Provas:
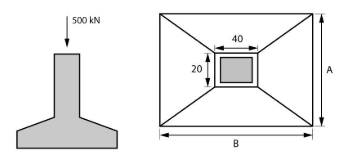
Abaixo temos a ilustração da lateral e da vista em planta de uma sapata de fundação. Considerando o carregamento de 500 kN e os lados A e B da sapata 65cm e 125cm respectivamente, qual a tensão transmitida para o solo aproximadamente?
Enunciado 3148516-1
 

Provas

Questão presente nas seguintes provas

Engenheiro Civil

50 Questões