Observe a figura abaixo.

Com relação às vistas para representação da figura acima, pode-se afirmar que a "vlsta de A'' representa uma vista:
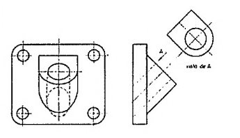
Observe a figura abaixo.

Com relação às vistas para representação da figura acima, pode-se afirmar que a "vlsta de A'' representa uma vista: