Magna Concursos
3040920 Ano: 2017
Disciplina: Arquitetura
Banca: IF-TO
Orgão: IF-TO

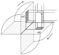
Assinale a alternativa que representa a épura do objeto descrito nas projeções ortogonais a seguir:

Enunciado 3482111-1

 

Provas

Questão presente nas seguintes provas

Professor PEBTT - Arquitetura

50 Questões