Magna Concursos
2699857 Ano: 2004
Disciplina: Engenharia Civil
Banca: CESPE / CEBRASPE
Orgão: Petrobrás

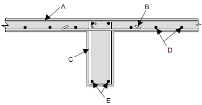
Enunciado 2850451-1

A figura acima apresenta esquematicamente a seção transversal de lajes contínuas e de uma viga de apoio de um prédio residencial no meio do vão da viga. As letras de A a E indicam componentes das armaduras da viga ou das lajes. Com relação a tais componentes, julgue o item seguinte.

O componente indicado pela letra B representa a parte dobrada do estribo da laje.

 

Provas

Questão presente nas seguintes provas