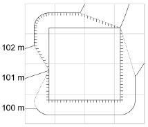
O mapa em escala a seguir representa um terreno inclinado com suas curvas de nível representadas de metro em metro.

Uma plataforma horizontal quadrada com lado de 24 metros foi executada no centro deste terreno, na cota 101 metros, através de terraplenagem com cortes e aterros, e taludes de 1:1 nas bordas.
Assinale a alternativa que representa corretamente o desenho em escala do terreno depois da execução da obra descrita.