Magna Concursos
80009 Ano: 2005
Disciplina: Engenharia Mecânica
Banca: CESGRANRIO
Orgão: Petrobrás

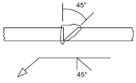
Assinale, dentre as figuras abaixo, aquela que representa corretamente a simbologia de soldagem, de acordo com a norma da American Welding Society (AWS).

 

Provas

Questão presente nas seguintes provas

Engenheiro de Equipamentos - Mecânica

80 Questões