Texto para responder à questão.
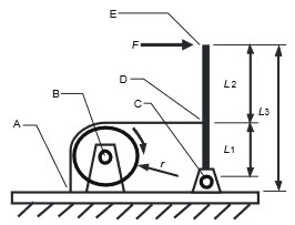
O freio de fita mostrado na figura consiste de uma correia que é apertada contra um volante que gira no sentido horário, freando seu movimento de rotação por atrito seco. A haste de comprimento (\( L_1 \) + \( L_2 \)) é rotulada em \( C \) e, sobre a sua outra extremidade, em E, é aplicada uma força \( F \).

Considerando \( μ \) o coeficiente de atrito entre a correia e o volante e chamando as forças nas extremidades da correia respectivamente de \( T_A \) e de \( T_D \), assinale a alternativa correta.