Atenção: As figuras I e II abaixo referem-se às questões de números 52 e 53 e representam, respectivamente, os circuitos de comando e de potência de um motor.
I Circuito de Comando

II Circuito de Potência

Identifique os dispositivos K1 e FT1:
K1 FT1
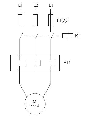
Atenção: As figuras I e II abaixo referem-se às questões de números 52 e 53 e representam, respectivamente, os circuitos de comando e de potência de um motor.
I Circuito de Comando

II Circuito de Potência

Identifique os dispositivos K1 e FT1:
K1 FT1