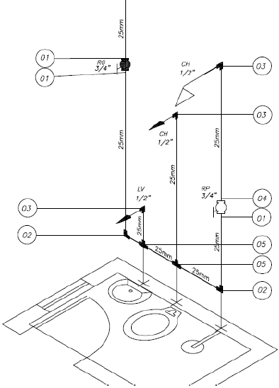
O detalhe isométrico representado na figura foi projetado com tubulação em PVC soldável e as conexões com roscas em latão. Baseado nas conexões assinaladas na figura, pode-se dizer que as quantidades de conexões necessárias para execução desta instalação são:

Figura – Detalhe Isométrico de banheiro