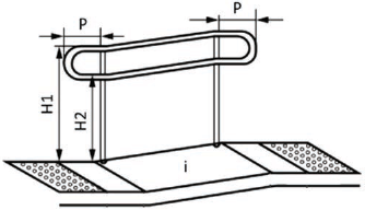
Visando ao atendimento dos princípios do desenho universal, as rampas que estiverem em uma rota acessível devem sempre possuir, além da inclinação adequada, elementos como corrimão em duas alturas, que deve ser prolongado após o término da rampa. Considerando que em um Projeto de Arquitetura se pretenda vencer um desnível de 0,30 m através de uma rampa de um seguimento, semelhante à ilustrada na figura a seguir, assinale a alternativa que aponta os valores adequados para inclinação (i), alturas de corrimão (H1 e H2) e o prolongamento (P) deste após o término da rampa.
