Magna Concursos
3776881 Ano: 2024
Disciplina: Engenharia Civil
Banca: VUNESP
Orgão: Pref. Vista Alegre Alto-SP
Provas:

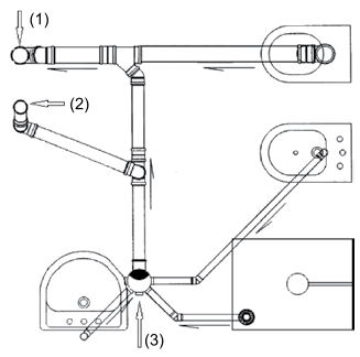
Considere a instalação de esgoto sanitário de um banheiro em um edifício de múltiplos andares.

Enunciado 4586310-1

Nessa instalação de esgoto sanitário, os números (1), (2) e (3) representam, respectivamente,

 

Provas

Questão presente nas seguintes provas

Fiscal de Obras e Posturas

40 Questões