Magna Concursos
448637 Ano: 2008
Disciplina: Engenharia Mecânica
Banca: FGV
Orgão: Senado

Atenção: analise o texto e a figura a seguir e responda às questões 55 e 56.

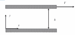
Considere duas placas planas, longas, entre as quais escoa um fluido incompressível, conforme representado na figura a seguir:

Enunciado 2610392-1

Admitindo um escoamento laminar, completamente desenvolvido, onde a placa superior possui uma velocidade nula (V = 0) e que o gradiente de pressão é negativo, o perfil de velocidade é:

 

Provas

Questão presente nas seguintes provas

Analista Legislativo - Engenharia Mecânica

80 Questões