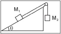
O sistema mostrado na figura abaixo está em equilíbrio. Despreze o atrito no plano inclinado e considere a roldana ideal. A razão M2/M1 entre as massas dos blocos é igual a:

O sistema mostrado na figura abaixo está em equilíbrio. Despreze o atrito no plano inclinado e considere a roldana ideal. A razão M2/M1 entre as massas dos blocos é igual a:
