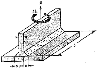
Observe a figura abaixo.

Sendo b=20" e a=3/8" na figura apresentada e sabendo que a tensão admissível de cisalhamento para a solda é 11300 1b/pol2 (-79MPa), qual é o momento torsor admissível para a solda?
Provas
Questão presente nas seguintes provas
Corpo Auxiliar de Praças - Estruturas Navais
50 Questões