
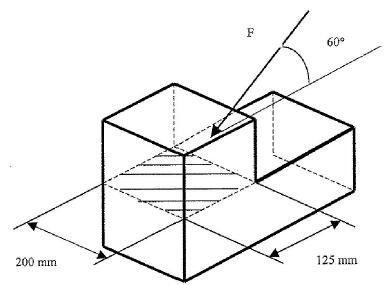
Qual é o valor, em MPa, da tensão de cisalhamento (\( \tau \)) que atua no plano hachurado da figura acima.
Dados: A força F faz um ângulo de 60º com a horizontal.
F = 300 kN
Provas
Questão presente nas seguintes provas

Qual é o valor, em MPa, da tensão de cisalhamento (\( \tau \)) que atua no plano hachurado da figura acima.
Dados: A força F faz um ângulo de 60º com a horizontal.
F = 300 kN