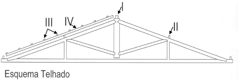
O esquema a seguir representa peças utilizadas na confecção de telhados:

Figura 02
A alternativa que apresenta CORRETAMENTE a denominação dos pontos I, II, III e IV, respectivamente, é:
O esquema a seguir representa peças utilizadas na confecção de telhados:

Figura 02
A alternativa que apresenta CORRETAMENTE a denominação dos pontos I, II, III e IV, respectivamente, é: