Magna Concursos
2700698 Ano: 2004
Disciplina: Engenharia Mecânica
Banca: CESPE / CEBRASPE
Orgão: Petrobrás

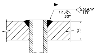
Enunciado 2911511-1

A vista em corte acima mostra um trecho de um tubulão de vapor, na região junto à cravação dos tubos da bancada principal de geração de vapor. Esses tubos foram fixados nos espelhos do tubulão, por mandrilhamento. No que diz respeito à montagem de tubos de caldeira na região dos tubulões, julgue o item seguinte.

Essa soldagem é para ser feita em fábrica.

 

Provas

Questão presente nas seguintes provas

Técnico de Manutenção - Caldeiraria

100 Questões