Magna Concursos
3106147 Ano: 2016
Disciplina: Desenho Técnico e Industrial
Banca: IFS
Orgão: IFS
Provas:

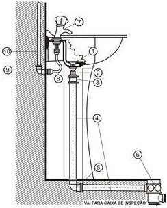
Os números (4), (5) e (9), da interpretação do corte hidráulico abaixo, significam, respectivamente:

Enunciado 3431685-1

 

Provas

Questão presente nas seguintes provas

Desenhista Projetista

70 Questões