Um parafuso de um trator de esteira de rosca grossa padrão métrico feito de aço tem o seu diâmetro maior de 20,0 mm e uma marcação de cabeça de 5.8.

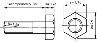
Analise a imagem a seguir: De acordo com a imagem este é um parafuso:
Um parafuso de um trator de esteira de rosca grossa padrão métrico feito de aço tem o seu diâmetro maior de 20,0 mm e uma marcação de cabeça de 5.8.

Analise a imagem a seguir: De acordo com a imagem este é um parafuso: