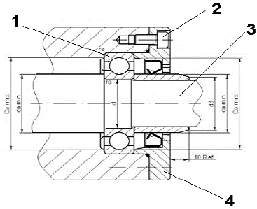
Observe o desenho abaixo:

Analise as seguintes afirmativas:
I. A peça 4 impede o deslocamento axial do rolamento.
II. A peça 2 é um parafuso escareado.
III. É provável que a peça 3 possua geometria circular.
IV. A peça 1 é a representação de um rolamento de rolos.
Estão CORRETAS apenas as afirmativas: