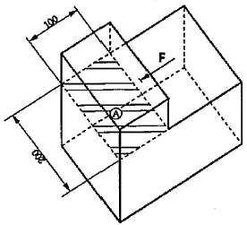
Analise a figura a seguir.

Sabendo que a força F tem intensidade de 300 N e está aplicada perpendicularmente à parede cujas dimensões estão representadas em mm, que tensão de cisalhamento, em kPa, atua no plano A da figura acima?
Analise a figura a seguir.

Sabendo que a força F tem intensidade de 300 N e está aplicada perpendicularmente à parede cujas dimensões estão representadas em mm, que tensão de cisalhamento, em kPa, atua no plano A da figura acima?