Um engenheiro eletricista recebeu o seguinte diagrama de sistema de comando de uma máquina da fábrica onde trabalha:

Em relação ao diagrama, o engenheiro pode afirmar que
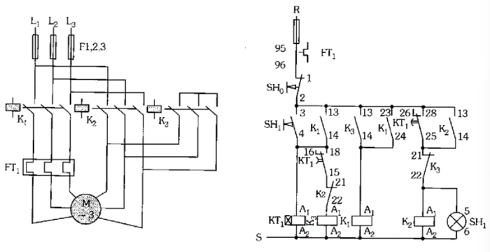
Um engenheiro eletricista recebeu o seguinte diagrama de sistema de comando de uma máquina da fábrica onde trabalha:

Em relação ao diagrama, o engenheiro pode afirmar que