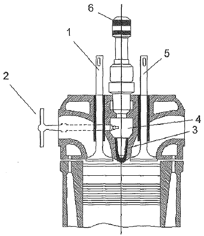
Observe a figura a seguir que apresenta a vista em corte de uma câmara de pré-combustão (ou de injeção indireta) de um motor Diesel, cuja forma é do tipo cilíndrico-cônica.

Sendo assim, assinale a opção que apresenta os nomes dos componentes 1,2,3,4,5 e 6 respectivamente, indicados na figura acima.