Magna Concursos
Questões
Planos
Entrar
Entrar
Criar Conta
Respondida
2243719
Ano:
2015
Disciplina:
Engenharia Civil
Banca:
COVEST-COPSET
Orgão:
UFPE
Provas:
Administrador - Edifícios
Provas
×
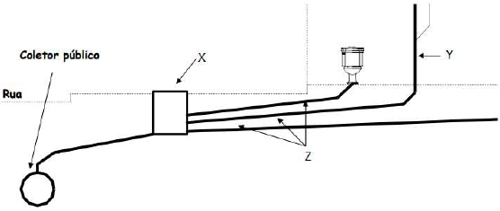
Sobre componentes do sistema predial de esgotos sanitários, analise a figura abaixo e marque a alternativa que corresponde aos componentes X, Y e Z respectivamente:
A
caixa de inspeção, tubo de queda e ramal de esgoto.
B
coletor predial, ramal de esgoto, subcoletores.
C
caixa de gordura, ramal de esgoto, subcoletores.
D
caixa de inspeção, tubo de queda e subcoletores.
E
coletor predial, tubo de queda, ramal de esgoto.
Resolver
Comentários
0
×
Cadernos
×
Flashcards
×
Estatísticas
×
Reportar um erro
×
Provas
Questão presente nas seguintes provas
Administrador - Edifícios
60 Questões
Resolver Prova
Publicar
Responder
Qual o problema da questão?
Selecione uma opção
Questão Desatualizada
Questão Repetida
Gabarito Errado
Outros Motivos
Mensagem
Enviar
Acessar
Criar Conta
Acesse sua Conta
Google
Facebook
Esqueci minha senha
Acessar
Ainda não tem conta?
Crie uma
!
Crie uma Conta
Criar Conta
Olá, para continuar, precisamos criar uma conta!
É
rápido
e
grátis
.
Google
Facebook
Concordo com os
Termos de Uso
Criar
Já tem uma conta?
Acesse aqui