Magna Concursos
3383655 Ano: 2010
Disciplina: Engenharia Mecânica
Banca: FCC
Orgão: SERGAS

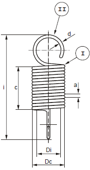
Considere o esquema abaixo.

Enunciado 3832562-1

O tipo de mola e os elementos I e II, respectivamente, são:

 

Provas

Questão presente nas seguintes provas

Assistente Técnico de Projetos

60 Questões