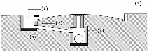
Um sistema de drenagem de águas pluviais é composto por uma série de unidades e dispositivos hidráulicos para os
quais existe uma terminologia própria. Sobre essa temática, analise a ilustração a seguir.

Assinale a alternativa que denomina corretamente os dispositivos hidráulicos numerados na ilustração.

Assinale a alternativa que denomina corretamente os dispositivos hidráulicos numerados na ilustração.