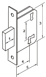
A fechadura de embutir abaixo representada mede 25mm. Essa medida está representada no desenho pelo número
1 - comprimento da lingüeta.
2 - distância entre chaves.
3 - altura da caixa.
4 - distância do espelho à chave.
5 - largura da caixa.
Olá, para continuar, precisamos criar uma conta! É rápido e grátis.