
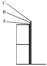
A figura acima representa parte de uma parede seccionada de alvenaria em tijolos, com três camadas de revestimento, representadas por letras, para preparação do revestimento final. Posteriormente serão aplicadas massa corrida e pintura PVA.
Com base nessas informações, é correto afirmar que a camada