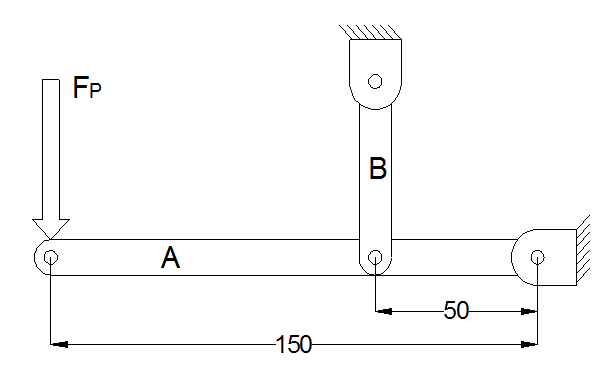
A figura a seguir ilustra, de forma esquemática, um suporte para carregamento de cargas em estado de equilíbrio. A Viga A apresenta pontos articulados de fixação por meio de pinos. Considerando uma força Fp de 20 kN aplicada na extremidade da viga A e considerando as dimensões das vigas apresentadas na figura, assinale a alternativa correta.

