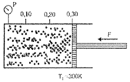
Um cilindro, com área de seção transversal A, é provido de um êmbolo móvel, podendo-se variar o volume de um gás (ideal) nele contido. Quando o êmbolo está na posição 0,30, como mostra a figura a seguir, a temperatura é de 300K e a pressão é P. Levando o êmbolo até a posição 0,20 e aumentando a temperatura para 400K, a nova pressão do gás será:

Provas
Questão presente nas seguintes provas
Quadro Técnico de Praças da Armada - Mecânica
50 Questões