Magna Concursos
Questões
Planos
Entrar
Entrar
Criar Conta
Respondida
188693
Ano:
2010
Disciplina:
Arquitetura
Banca:
VUNESP
Orgão:
Pref. Sorocaba-SP
Provas:
Arquiteto e Urbanista
Provas
×
Legislação e Normas
NBRs
NBR 9.050: Acessibilidade
A questão refere-se à Lei Municipal nº 1.437/1966 - Código de Obras de Sorocaba.
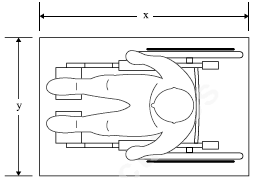
Considere a ilustração a seguir, extraída da NBR 9050.
Módulo de referência (M.R.)
Os valores de x e y são, respectivamente,
A
1,00 m e 0,80 m
B
1,20 m e 0,80 m
C
1,20 m e 0,90 m
D
1,50 m e 0,90 m
E
1,50 m e 1,00 m.
Resolver
Comentários
0
×
Cadernos
×
Flashcards
×
Estatísticas
×
Reportar um erro
×
Provas
Questão presente nas seguintes provas
Arquiteto e Urbanista
50 Questões
Resolver Prova
Publicar
Responder
Qual o problema da questão?
Selecione uma opção
Questão Desatualizada
Questão Repetida
Gabarito Errado
Outros Motivos
Mensagem
Enviar
Acessar
Criar Conta
Acesse sua Conta
Google
Facebook
Esqueci minha senha
Acessar
Ainda não tem conta?
Crie uma
!
Crie uma Conta
Criar Conta
Olá, para continuar, precisamos criar uma conta!
É
rápido
e
grátis
.
Google
Facebook
Concordo com os
Termos de Uso
Criar
Já tem uma conta?
Acesse aqui