Magna Concursos
Questões
Planos
Entrar
Entrar
Criar Conta
Respondida
2394612
Ano:
2010
Disciplina:
Engenharia Mecânica
Banca:
PUC-PR
Orgão:
COPEL
Provas:
Técnico Industrial - Mecânica
Provas
×
Desenho Técnico Mecânico
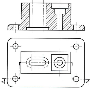
Observe a figura abaixo. Assinale a alternativa
CORRETA
para o tipo de corte representado:
FONTE: Silva, Arlindo; Ribeiro, Carlos T.; Dias, João; Souza, Luís. Desenho Técnico Moderno. 4 ed., 2006.
A
Corte rebatido.
B
Corte parcial.
C
Corte total.
D
Corte em desvio.
E
Meio corte.
Resolver
Comentários
0
×
Cadernos
×
Flashcards
×
Estatísticas
×
Reportar um erro
×
Provas
Questão presente nas seguintes provas
Técnico Industrial - Mecânica
50 Questões
Resolver Prova
Publicar
Responder
Qual o problema da questão?
Selecione uma opção
Questão Desatualizada
Questão Repetida
Gabarito Errado
Outros Motivos
Mensagem
Enviar
Acessar
Criar Conta
Acesse sua Conta
Google
Facebook
Esqueci minha senha
Acessar
Ainda não tem conta?
Crie uma
!
Crie uma Conta
Criar Conta
Olá, para continuar, precisamos criar uma conta!
É
rápido
e
grátis
.
Google
Facebook
Concordo com os
Termos de Uso
Criar
Já tem uma conta?
Acesse aqui