Acerca de mecânica dos fluidos, julgue os itens de 81 a 88.
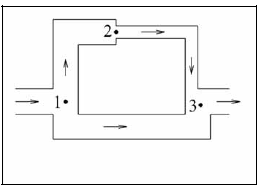
Considere que a figura abaixo ilustre uma rede de condutos composta por três trechos distintos de tubulação. Nessa rede, se a perda de carga entre os pontos 1 e 2 for de 8 m e a perda de carga entre os pontos 1 e 3 for de 12 m, a perda de carga entre os pontos 2 e 3 será igual a 10 m.
