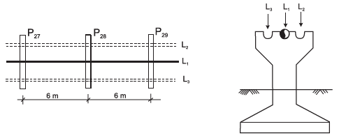
Observe o croqui e os dados abaixo, referentes a uma estrutura destinada a apoiar três linhas de dutos.

Dados:
!$ \bullet !$ !$ \pi \, = \, 3,14 !$
!$ \bullet !$ Diâmetro interno da L1 = 400 mm
!$ \bullet !$ Densidade do líquido transportado = 0,90 kg/dm3
!$ \bullet !$ Peso do tubo = 50 kgf/m
!$ \bullet !$ Taxa de resistência do solo !$ \sigma !$ = 0,5 kgf/cm2
!$ \bullet !$ Não majorar ou minorar qualquer dado.
!$ \bullet !$ Considerar apenas os esforços estáticos.
!$ \bullet !$ Não considerar o peso da estrutura de apoio (pilar e sapata).
!$ \bullet !$ Sapatas de 60 cm x 60 cm são as bases dos pilares.
!$ \bullet !$ Situação atual: só existe a L1 .
!$ \bullet !$ T1 : tensão ativa provocada por L1, em kgf/cm2
Considerando-se a necessidade da instalação das linhas L2 e L3, sem alteração da estrutura atual, é correto afirmar que, no P28: