
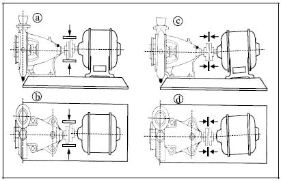
Os dois conjuntos motobomba
mostrados na figura acima foram montados em fábrica em uma base e estão com problemas de alinhamento na luva elástica. Com relação ao alinhamento necessário ao bom funcionamento dos conjuntos motobomba e aos componentes envolvidos, julgue os seguintes itens.
O desalinhamento mostrado em
não prejudica o funcionamento do conjunto motobomba, enquanto o mostrado em
não permite o funcionamento do conjunto.
Provas
Questão presente nas seguintes provas