Magna Concursos
1132833 Ano: 2017
Disciplina: Edificações
Banca: UFG
Orgão: IF-Goiano
Provas:

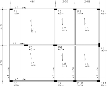
A figura a seguir corresponde à planta de fôrma do pavimento térreo de uma edificação. A questão a seguir refere-se a ela.

Enunciado 1132833-1Enunciado 1132833-2

O vão efetivo l ef, em metros, do primeiro tramo da viga V1, é de
 

Provas

Questão presente nas seguintes provas

Técnico em Edificações

50 Questões