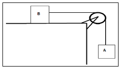
Dois corpos, A e B, de massas diferentes mA = 3 mB são unidos por um fio de massa desprezível e inextensível que passa por uma roldana ideal. O corpo B se encontra apoiado sobre uma superfície de coeficiente de atrito 0,5. De acordo com o esquema, é possível afirmar que a aceleração do sistema vale:
