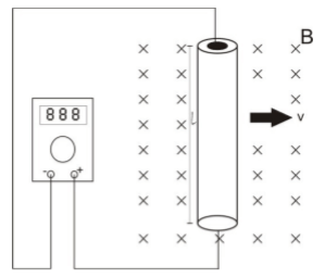
A figura abaixo mostra um condutor imerso em um campo magnético de densidade !$ {\overline B} = 0,7 \ {\overline a} _B \ T !$ (onde !$ {\overline a}_B !$ é o vetor unitário que designa a direção e o sentido de B, conforme a figura) se movendo conforme o vetor velocidade !$ {\overline v} = 2 \ {\overline a}_v \ m/s^2 !$. Sabendo-se que o comprimento do fio é igual a 1 metro, a leitura obtida no voltímetro é:
