Magna Concursos
2187333 Ano: 2021
Disciplina: Biologia
Banca: Consulplan
Orgão: ISGH

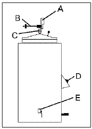
Em um ambiente hospitalar, centrais de esterilização são compostas por equipamentos considerados de apoio no tratamento dos pacientes. Observe a imagem a seguir e assinale a alternativa correta.

Enunciado 3381518-1

 

Provas

Questão presente nas seguintes provas

Auxiliar - Equipamentos Biomédicos

30 Questões